8The genealogical details of the tribe of Levi are second only in length to those of Judah, and we go on therefore to consider these, leaving other tribes for which less details are given to be dealt with later on if space allows.

In the case of the tribe of Judah, certain links were able to be made between the genealogies of chapters 2 – 4 and later information in 1 Chronicles regarding the time of David, such as the list of his mighty men in ch.11 and details of the various leaders of Israel in ch.27. In the case of the Levites, we find there are even more details given about them in the time of David, and the information in ch.6 can be considerably extended from later chapters. It may be helpful as a preliminary to set out what information is given us about the Levites later on in 1 Chronicles relating to David’s time. It is first of all worth pointing out that the three great divisions of the Levites relate to the descendants of the three sons of Levi; Kohath, Gershon (sometimes spelt Gershom) and Merari (see Num.4, where the respective duties of these three divisions are given).

1 Chronicles 15 is about the bringing in of the ark to the tabernacle which David had constructed in Jerusalem, presumably after the pattern of the original tabernacle which the Philistines destroyed at Shiloh. Six divisions of the tribe of Levi are given:

  1. Kohath (v.5)
  2. Merari (v.6)
  3. Gershom (v.7)
  4. Elizaphan (v.8) This is probably the Elizaphan of Ex.6:22, who was Aaron’s cousin, and Levi’s great-grandson.
  5. Hebron (v.9)
  6. Uzziel (v.10) Hebron and Uzziel were brothers, grandsons of Levi, and Aaron’s uncles.

Thus, at this fairly early stage in the reign of David, the Levites were divided into six divisions, four being descendants of Kohath, one descen­dants of Gershon/m and one descendants of Merari.

The same chapter goes on to give details of porters, doorkeepers and musicians, including the famous trio of singers, Heman, Asaph and Ethan. Further on in the book extensive details are given of the ordering of the Levites later on in the reign of David, in preparation for the service of the temple which he knew Solomon would build. The following is a summary of the information given:

1 Chronicles 23:6-24

The division of the Levites into “courses”is as follows:

Descendants of Gershom 9 courses (vv.7-11)
Descandants of Kohath 9 courses (vv.12-20)
Descendants of Merari 4 courses (vv.21-23
Total 22 courses

These 22 divisions of the Levites must not be confused with the 24 divisions of the priests given later on. Only the descendants of Aaron were priests, and it is made clear in this chapter that Aaron and his descendants are not involved in this division into courses (v.13). In case readers cannot identify easily the various courses, it is worth saying at this point that it will be justified later on in the series, God willing. This is but a preliminary survey.

1 Chronicles 24:1-19

Here are the details of the division of the priests, the descendants of Aaron, into 24 courses. 16 of these courses consisted of descendants of Eleazar, and 8 consisted of descendants of Ithamar, these being the two surviving sons of Aaron after Nadab and Abihu were struck down by fire from God. The heads of each of these courses is given, but it is not possible to tell which were descen­dants of Ithamar and which were descendants of Eleazar.

1 Chronicles 24:20-31

This consists of details of the families of “the rest of the sons of Levi” (v.20), that is, those not of the priestly family of Aaron. This is not the same as the division into 22 courses dealt with in ch.23. Here in ch.24 the Gershon­ites are not included, and what we seem to have is the dividing up into groups of those Levites whose task was to assist the priests in their temple duties. It ought therefore to be possible to pick out 24 groups in these verses to corres­pond with the 24 courses of priests in the earlier part of the chapter. Other Levites would have had other duties; evidently none of the 9 Gershonite courses had anything to do with this task of assisting the priests in the temple duties. Thus the division of the Levites in ch.23 into 22 courses is of all the Levites (except the priests, the descendants of Aaron); the division of the Levites in ch.24:20-31 is of part of the Levites only.

1 Chronicles 25

In this chapter the musicians are also divided into 24 courses. Each division is headed by one of the sons of the three chief musicians, Asaph, Jeduthun and Heman, as follows:

Sons of Asaph 4 divisions
Sons of Jeduthun 6 divisions
Sons of Heman 14 divisions

It is sometimes suggested that Jeduthun was the same as the Ethan who is mentioned alongside Asaph and Heman in 1 Chron.15:17. If this was so, then each of the chief musicians was descended from a different son of Levi:

1 Chronicles 26:1-19

These verses detail the families of the porters. Especially important was the task of looking after the gates, and again this task was organised into 24 divisions, with different individuals being responsible for the four points of the compass and other key areas:

East Six Shelemiah
North Four Zechariah
South Four Obed-edom
Four Sons of Edom at the house Asuppim (literally, the house
of gatherings, probably the storehouse)
West Four Shuppim at the causeway (the main highway into the
temple site)
Two Hosah at the Parbar (meaning unknown, perhaps some
kind of precinct or court).

These porters appear to have come from two main families, the sons of Kore (Korah), the great-grandson of Levi, and famous for his rebellion against the authority of Moses and Aaron, and the sons of Merari (vy.1,10,19).

1 Chronicles 26:20-28

Another task fulfilled by the Levites was to keep “the treasures of the house of God” and “the treasures of the dedicated things”. Various branches of the Levites are referred to in connection with this.

1 Chronicles 26:29-32

A further task which the Levites did was to act as judges and officers, the latter being what would now be called civil servants (see v.30). This seems to have been chiefly the responsibility of the descendants of Hebron and Izhar, sons of Kohath, son of Levi.

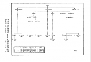
The attached genealogy (fig.9) is a summary of the information given in this article. It will be expanded in later issues, God willing, when we hope to deal firstly with cershan and Merari, and then with the great Kohathite family of whom the priestly line came.


Responses